Upišite nekoliko riječi da pronađete sadržaj eg:
fuse,arrestor,00110115 technical...
Nedavne pretrage
Tehnička podrška
This email address is being protected from spambots. You need JavaScript enabled to view it.

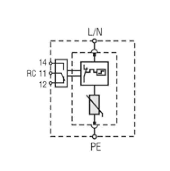
Odvodnik prenapona MOD.ETITEC D T3 275/3 002440421

Specifikacije

Šifra proizvoda:
002440421
Opis:
MOD.ETITEC D T3 275/3
Ime razreda:
Odvodnik prenapona
Funkcija:
SPD Modul
Tip:
T3
Za upotrebu sa:
Etitec D T3

Dokumenti

Proizvod

Etikod EAN
3838895773221  
Eticode težina
0.058  kg
Carinska tarifa
85363090  
logis_net_width
18  mm
logis_net_height
47  mm
logis_net_depth
52  mm

Transportno pakovanje

Količina
12  
EAN
3838895773238  
Težina
0.064  kg
Broj paleta
15120  
Klasifikacija
EC000942
Ime razreda
Surge protection device for terminal equipment
Mounting method
On basic element
Nominal voltage AC
230
Max. continuous voltage AC
275
Nominal discharge surge current (8/20) (L-N)
3
Category type 3
Da
With interference suppressor filter
Ne
Degree of protection (IP)
IP20
ETIM Clasifikacija – Verzija

Slike i dijagrami

Pribor 4

>
>
0
Vaša korpa je prazna.